Miniature du produit Schéma de câblage

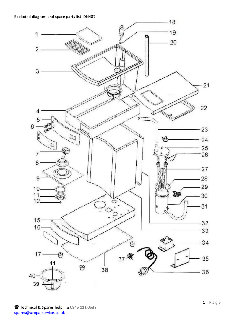
Schéma de câblage : Buffalo DN487 machine à café

Buffalo Appareils ménagers Machine à café

De quoi avez-vous besoin ?

En validant, je déclare accepter sans réserve les Conditions Générales et la Politique de confidentialité de wenony.ch. En validant les informations, je confirme commander un contrat WeNony Premium au tarif de 0,90 CHF le premier mois, puis au tarif de 49,00 CHF par mois avec un engagement de 12 mois. Je confirme être habilité à engager l’entreprise dans ces conditions.

Présentation de la notice : Schéma de câblage Machine à café Buffalo DN487

Recherchez parmi les 2 pages de la notice : Schéma de câblage Machine à café Buffalo DN487 pour trouver les informations qu'il vous manque. Vous ne trouvez pas les réponses à vos questions ? Réservez une vidéo assistance en moins de 2 minutes.

Caractéristiques

Marque Buffalo
Modèle DN487
Catégorie Appareils ménagers
Type de produit Machine à café
Nombre de pages 2 Pages
Type de fichier
Page / 2
Page n°1 - Schéma de câblage Buffalo DN487