Miniature du produit Schéma de câblage

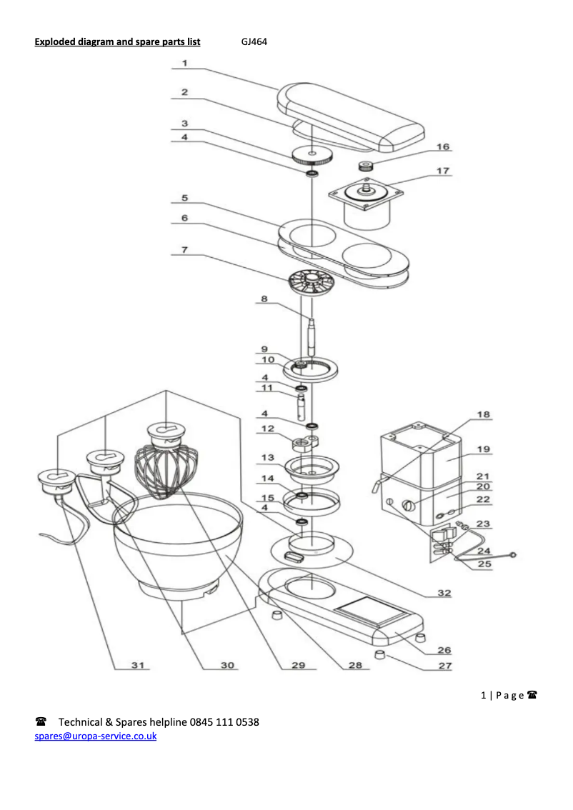
Schéma de câblage : Buffalo GJ464 table de mixage

Buffalo Audio Table de mixage

Recherchez parmi les 2 pages de la notice : Schéma de câblage Table de mixage Buffalo GJ464 pour trouver les informations qu'il vous manque. Vous ne trouvez pas les réponses à vos questions ? Réservez une vidéo assistance en moins de 2 minutes.

Caractéristiques

Marque Buffalo
Modèle GJ464
Catégorie Audio
Type de produit Table de mixage
Nombre de pages 2 Pages
Type de fichier
Page / 2
Page 1 de la notice Schéma de câblage Buffalo GJ464